物件掲載企業数:299|賃貸物件:2,870件|売買物件:3,228件|今週の登録物件:302
閲覧中のブラウザ(インターネットエクスプローラー)は非推奨ブラウザです。
物件が正しく表示されなかったり、正しく検索されない場合があります。最新のブラウザ(Google Chrome・Edgeなど)にてご利用お願いいたします。
  

三条市貸倉庫・貸工場一覧

表示切替: 一覧表示 地図表示    並び替え:
画像 物件名
所在地
取扱店
面積
間取り
所在階
築年数
賃料
管理費等
共益費
敷金
保証金
礼金
屋根・外壁一部張替済み!駐車場2台可
物件画像
物件画像
物件画像
物件画像
詳細☆お気に入り★お気に入り
◆貸倉庫事務所◆三条市荒町二丁目
    新潟県三条市荒町2丁目5番8号
    (倉庫・工場・その他)
    367.97㎡
    (111.31坪)
    -
    -
    54年
    8.8万円
    なし
    なし
    2ヶ月
    なし
    なし
    写真たくさんあり!!
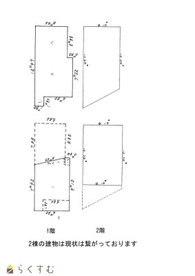
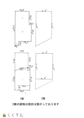
      貸事務所付倉庫!倉庫部分は約29坪です
      物件画像
      物件画像
      物件画像
      物件画像
      詳細☆お気に入り★お気に入り
      ◆貸事務所付倉庫◆三条市石上3丁目
        新潟県三条市石上3丁目16-1
        (倉庫・工場・その他)
        126.94㎡
        (38.39坪)
        -
        -
        42年
        12万円
        なし
        なし
        1ヶ月
        なし
        なし
        写真たくさんあり!!
          表示切替: 一覧表示 地図表示    並び替え:
          0件がマッチ
          基本条件
          物件種別 倉庫・工場・その他
          賃料


          間取り
          所在階
          面積
          築年数
          方位
          おすすめ条件
          情報公開日
          0件がマッチ
          人気のあるこだわり条件